Оперативно подберем датчик по фото !
Отправьте фото датчика и в течении 15 минут мы подберем для Вас нужный элемент или его аналог!
Ключевые особенности:
Обратная связь по положению для односедельных и двухседельных клапанов и для диафрагмовых клапанов Свободно выбираемые коммутационные выходы: клапан открыт / закрыт, подъем клапана над седлом Заменяет три бинарных приемника импульсов Разрешение 0.2 мм на протяжении всего диапазона измерения Программирование положения клапана с помощью кнопок
Обратная связь по положению для односедельных и двухседельных клапанов и для диафрагмовых клапанов Свободно выбираемые коммутационные выходы: клапан открыт / закрыт, подъем клапана над седлом Заменяет три бинарных приемника импульсов Разрешение 0.2 мм на протяжении всего диапазона измерения Программирование положения клапана с помощью кнопок
| Характеристики | |||||||||||
|---|---|---|---|---|---|---|---|---|---|---|---|
| Электрическое исполнение | PNP | ||||||||||
| Функция выходного сигнала | 3 x NO | ||||||||||
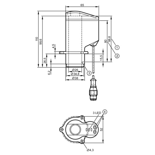
| Размеры [mm] | 65 x 52 x 110 | ||||||||||
| Приложение | |||||||||||
| Применение | Обратная связь для линейных одно- или двух клапанных гидро- или пневмоаппаратов, Абсолютное измерение расстояния, Мониторинг уплотнения стержня клапана | ||||||||||
| Электронные данные | |||||||||||
| Рабочее напряжение [V] | 1836 DC | ||||||||||
| Потребление тока [mA] | 42, (24 V) | ||||||||||
| Класс защиты | III | ||||||||||
| Защита от переполюсовки | да | ||||||||||
| Макс. время задержки при включении [ms] | 2000 | ||||||||||
| Выходы | |||||||||||
| Электрическое исполнение | PNP | ||||||||||
| Функция выходного сигнала | 3 x NO | ||||||||||
| Макс. падение напряжения коммутационного выхода DC [V] | 2,5 | ||||||||||
| Постоянный ток нагрузки коммутационного выхода DC [mA] | 100 | ||||||||||
| Защита от короткого замыкания | да | ||||||||||
| Тип защиты от короткого замыкания | тактовый | ||||||||||
| Защита от перегрузок по току | да | ||||||||||
| Диапазон контроля | |||||||||||
| Диапазон измерения [mm] | 080 | ||||||||||
| Max. скорость мишени (приближающегося предмета) [m/s] | 1 | ||||||||||
| Разрешение хода клапана [mm] | 0,2 | ||||||||||
| Мишень |
|
||||||||||
| Программное обеспечение / Программирование | |||||||||||
| Выбор параметров | 3 точки переключения свободно устанавливаются в пределах диапазона измерения | ||||||||||
| Условия эксплуатации | |||||||||||
| Температура окружающей среды [°C] | -2585 | ||||||||||
| Примечание к температуре окружающей среды |
|
||||||||||
| Степень защиты | IP 65, IP 67, (только в сочетании с установкой в головке клапана, которая обеспечивает достаточную защиту от механического повреждения датчика) | ||||||||||
| Испытания / одобрения | |||||||||||
| ЭMC |
|
||||||||||
| MTTF [годы] | 298 | ||||||||||
| Механические данные | |||||||||||
| Вес [g] | 217,5 | ||||||||||
| Способ монтажа | Фланец с тремя отверстиями | ||||||||||
| Размеры [mm] | 65 x 52 x 110 | ||||||||||
| Материал | PA (полиамид), TPE, PP, LCP | ||||||||||
| Дисплеи / Элементы управления | |||||||||||
| Дисплей |
|
||||||||||
| Принадлежности | |||||||||||
| Комплект поставки |
|
||||||||||
| Примечания | |||||||||||
| Упаковочная величина | 1 шт. | ||||||||||
| электрическое подключениеразъем | |||||||||||
| Соединение | Кабель: 0,3 m, PVC (поливинилхлорид), 5 x 0,14 mm² | ||||||||||
| Соединение | Разъем: 1 x M12 |
Характеристики IFM
Дисплей
Состояние выхода: 1 x светодиод жёлтый seatqwerty, Состояние выхода: 1 x светодиод зелёный openqwerty, Состояние выхода: 1 x светодиод красный close
Материал
LCPqwerty, PA (полиамид)qwerty, PPqwerty, TPE
Обозначение продукции
Датчик хода клапана
Производитель
IFM
Рабочее напряжение DC
18…36 V
Соединение
0qwerty, 3 m PVC (поливинилхлорид)-Кабельqwerty, M12 Разъем
Тип
IX5010
Тип напряжения
DC
Функция выходного сигнала
3 x NO
Электрическое исполнение
PNP
Отзывов: 0
Нет отзывов об этом товаре.
Вопросов: 0
Нет вопросов об этом товаре.
Способы доставки
- Доставка курьером
- Транспортная компания
- Доставка "Самовывоз"
- Доставка курьером
- Транспортная компания
- Доставка "Самовывоз"
Способы оплаты
- Безналичный расчет
- Наличными на расчетный счет через кассу Банка.
- Безналичный расчет
- Наличными на расчетный счет через кассу Банка.
Гарантия:
Гарантия на всю продукцию, поставляемую компанией "АквилаКит", равна гарантии, предоставляемой производителем на данный тип продукции.
Регионы доставки:
- Армения, все регионы
- Азербайджан, все регионы
- Беларусь:
- Брестская область
- Витебская область
- Гомельская область
- Гродненская область
- Минск
- Минская область
- Могилевская область:
- Бобруйск
- Горки
- Осиповичи
- Кричев
- Быхов
- Климовичи
- Шклов
- Костюковичи
- Мстиславль
- Чаусы
- Кировск
- Чериков
- Славгород
- Кличев
- Могилев
- Грузия, все регионы
- Казахстан, все регионы
- Кыргызстан, все регионы
- Молдова, все регионы
- Россия, все регионы
- Таджикистан, все регионы
- Туркменистан, все регионы
- Узбекистан, все регионы
Мы доставим Ваш заказ в любую точку в странах СНГ! Обращайтесь к нам!
- Армения, все регионы
- Азербайджан, все регионы
- Беларусь:
- Брестская область
- Витебская область
- Гомельская область
- Гродненская область
- Минск
- Минская область
- Могилевская область:
- Бобруйск
- Горки
- Осиповичи
- Кричев
- Быхов
- Климовичи
- Шклов
- Костюковичи
- Мстиславль
- Чаусы
- Кировск
- Чериков
- Славгород
- Кличев
- Могилев
- Грузия, все регионы
- Казахстан, все регионы
- Кыргызстан, все регионы
- Молдова, все регионы
- Россия, все регионы
- Таджикистан, все регионы
- Туркменистан, все регионы
- Узбекистан, все регионы
Мы доставим Ваш заказ в любую точку в странах СНГ! Обращайтесь к нам!
Похожие товары
Вы недавно смотрели
Proline Promass O 300 Coriolis flowmeter
Производитель:
Endress+HauserКод товара:
EH_0197
Под заказ
Цена по запросу
Датчик температуры SICK TBT-1ABGE1006PZ
Производитель:
SICKКод товара:
TBT-1ABGE1006PZ
Под заказ
Цена по запросу
Датчик контраста SICK KTL180-MF2P41ZZZZZ
Производитель:
SICKКод товара:
KTL180-MF2P41ZZZZZ
Под заказ
Цена по запросу
Cветовой барьер безопасности Schmersal SLC420-E/R0570-14-RFB
Производитель:
SchmersalКод товара:
SLC420-E/R0570-14-RFB
Под заказ
Цена по запросу
